光影知识库
网站首页
美食营养
游戏数码
手工爱好
生活家居
健康养生
运动户外
职场理财
情感交际
母婴教育
时尚美容
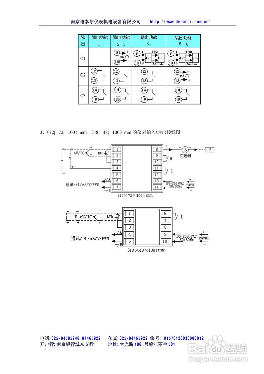
迪泰尔XM智能自整定PID调节数字光柱显示仪表说明书
时间:2024-12-07 16:06:52
迪泰尔智能位式控制数字光柱显示仪表说明书
迪泰尔XM智能数字显示仪表说明书
飞创仪表-智能自整定PID调节控制仪表/光柱显示仪表使:[2]
迪泰尔XM系列数字显示调节仪说明书
东辉DY-(A)自整定PID调节仪表说明书
热门搜索
复刻版是什么意思
什么是鸡肋
什么脸型适合空气刘海
tell是什么意思
蒙昧的意思
什么食物可以降火
读什么专业好
差强人意的意思
negro什么意思
叛逆的意思
Copyright © 2025
光影知识库
All Rights Reserved 信息来自网络,所有数据仅供参考,有任何疑问请联系站长